Мотор-редукторы 3МПз–31,5, 3МПз–40, 3МПз–50 являются эффективной и рациональной заменой устаревших планетарных мотор-редукторов серии 3МП. Благодаря использованию новых материалов, улучшенной синтетической смазки и технологий обработки, производителю удалось повысить показатели долговечности оборудования в 1,6-2 раза, эффективность передаваемого крутящего момента в 1,4 раза и снизить уровень шума приводной системы на 4…12дБА. Также доводим до сведения покупателей и заказчиков тот факт, что габаритные и присоединительные размеры мотор-редукторов 3Мпз полностью совпадают с параметрами уже ставших популярными мотор-редукторов серии 3МП.
Мотор-редуктор 3МПз50–25,23-56–3,0–G110, где:
У – для умеренного климата, категория размещения 3 – использование в помещениях, в которых перепады температуры и влажности значительно меньше, чем на открытом воздухе; рабочая температура в диапазоне от -45°С до +40°С;
Т – для тропического климата, категория размещения 2 – использование под навесом или в помещении, в котором температурные перепады и колебания влажности воздуха незначительно отличаются от условий открытого воздуха; рабочая температура: от -10°С до +45°С.





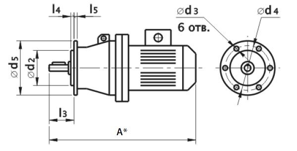
| эл. двигатели | B5 | E5 | F5 | G2 | G5 | S5 | L | D1 | T1 | U1 | A | B | |
|---|---|---|---|---|---|---|---|---|---|---|---|---|---|
| 3МПз 31.5 | MS63 | 95 | 115 | 3.5 | 120 | 140 | M8 | 50 | 11 | 12.8 | 4 | 458 | 130 |
| MS71 | 110 | 130 | 160 | 54 | 14 | 16.3 | 5 | 480 | 145 | ||||
| MS80 | 130 | 165 | 4.5 | 200 | M10 | 69 | 19 | 21.8 | 6 | 515 | 155 | ||
| MS90 | 24 | 27.3 | 8 | 550 | 175 | ||||||||
| 3МПз 40 | MS63 | 95 | 115 | 3.5 | 160 | 140 | M8 | 50 | 11 | 12.8 | 4 | 492 | 130 |
| MS71 | 110 | 130 | 160 | 54 | 14 | 16.3 | 5 | 514 | 145 | ||||
| MS80 | 130 | 165 | 4.5 | 200 | M10 | 69 | 19 | 21.8 | 6 | 549 | 155 | ||
| MS90 | 24 | 27.3 | 8 | 584 | 175 | ||||||||
| MS100 | 180 | 215 | 5 | 250 | M12 | 81 | 28 | 31.3 | 8 | 636 | 215 | ||
| MS112 | 656 | 240 | |||||||||||
| 3МПз 50 | MS63 | 95 | 115 | 3.5 | 200 | 140 | M8 | 50 | 11 | 12.8 | 4 | 557 | 130 |
| MS71 | 110 | 130 | 160 | 54 | 14 | 16.3 | 5 | 579 | 145 | ||||
| MS80 | 130 | 165 | 4.5 | 200 | M10 | 69 | 19 | 21.8 | 6 | 614 | 155 | ||
| MS90 | 24 | 27.3 | 8 | 649 | 175 | ||||||||
| MS100 | 180 | 215 | 5 | 250 | M12 | 81 | 28 | 31.3 | 8 | 701 | 215 | ||
| MS112 | 721 | 240 | |||||||||||
| MS132S | 230 | 265 | 5 | 300 | 93 | 38 | 41.3 | 10 | 788 | 275 | |||
| MS132M | 828 | 275 |

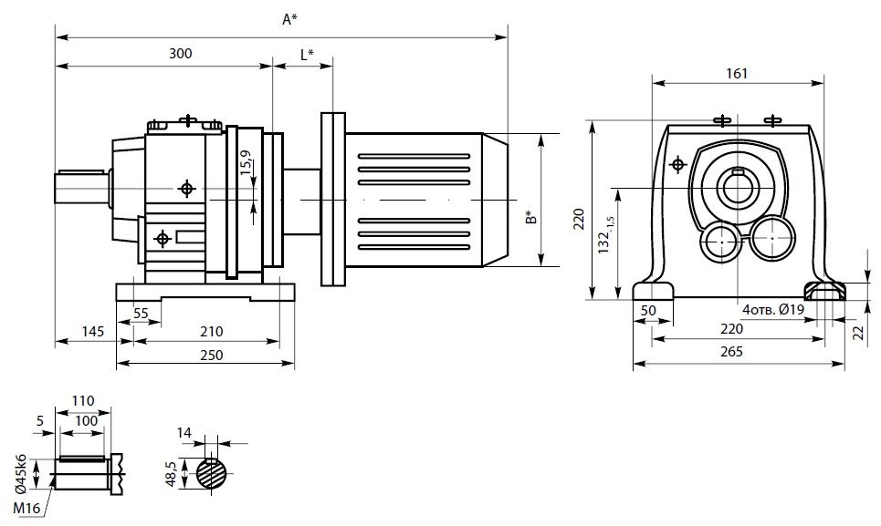
| Типоразмер мотор-редуктора | d2 | d3 | d4 | d5 | l3 | l4 | l5 |
|---|---|---|---|---|---|---|---|
| 3МПз31,5 | 130h6 | 12 | 155 | 180 | 70 | 4 | 12 |
| 3МПз40 | 130h6 | 15 | 165 | 200 | 90 | 6 | 16 |
| 3МПз50 | 180h8 | 17 | 215 | 250 | 125 | 8 | 18 |